鉅大鋰電 | 點擊量:0次 | 2018年07月08日
鋰電池生產不能忽視的這一工藝
在鋰離子電池生產過程中,極片生產完成后,采用卷繞或者疊片方式將正、負極極片和隔膜組裝制造形成基本的電芯。隨后,一般會對電芯進行熱壓整形。本文主要簡單介紹熱壓整形工藝的目的與工藝控制要點。
一、工藝目的
無論在卷繞中或者Z型疊片中,必須對隔膜施加一定的張力,以確保正極片、隔膜、負極片之間的整齊程度,然而工藝過程中的張力會使隔膜在走帶方向被拉長,隔膜在走帶方向的收縮量很大,會使得隔膜嚴重擠壓極片,從而導致電芯組裝工藝后,特別是繞卷工藝,電芯發生變形,變形后的電芯不僅外觀平整度差,內部還會存在隔膜褶皺等缺陷,如圖1和圖2所示,這會導致容量低、循環性能差及自放電快等質量問題,尤其是卷繞較厚的電芯,卷繞后的變形問題尤為突出。另外,松散狀態的電芯厚度一致性也差,會影響電芯入殼工藝,增加入殼工藝的難度,甚至導致入殼時電芯損傷。

因此,電芯熱壓整形的主要目的包括:
(1)改善鋰離子電池的平整度,使電芯厚度滿足要求并具有高的一致性;
(2)消除隔膜褶皺,趕出電芯內部空氣,使隔膜和正負極極片緊密貼個在一起,縮短鋰離子擴散距離,降低電池內阻。
二、工藝過程
為了使鋰離子電池電芯能夠在經過整形后平直且避免回縮復原。電芯熱壓整形工藝過程如下:將卷繞或疊片好的電芯放在模板上,設定增壓缸壓力和模板溫度,然后上下模板在一定壓力和溫度作用下使電芯定型,達到電芯厚度一致,使電芯彈性減小,降低裝芯合格率并保
證成品電芯厚度的一致性。

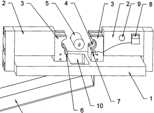
圖3方形電芯熱壓整形裝置
對于方形電池,熱壓整形裝置如圖3所示,上下模板就是平板,在壓力作用下平板合模平整電芯。而對于圓柱電池,熱壓整形裝置如圖4所示,固定在底座上產生相向運動的兩汽缸,在兩汽缸活塞桿尾端帶有柱形槽的兩個半圓模,兩半圓模柱形槽的半徑相等且等于或小于預設卷芯半徑。利用機械手或夾具夾持卷芯放置在兩個半圓模的中心位置處,控制兩個汽缸帶動兩半圓模合模相向運動,使得兩個半圓模對卷芯進行擠壓,從而將卷繞整形到預設的尺寸,使之能夠放入與之相匹配的外殼內。

圖4圓柱形電池電芯熱壓整形裝置示意圖
一般,在電芯熱壓整形時,同時對電芯進行絕緣耐電壓測試,檢測電芯內部是否存在微短路。如果電芯內部存在微小金屬異物顆粒,在電芯被壓下狀態,電芯隔膜刺穿,很容易檢測出微短路不合格品。關于電芯絕緣耐電壓測試,之前整理過一篇文章:鋰電池電芯絕緣耐電壓測試基礎知識(點擊閱讀)。
三、工藝要點
電芯熱壓整形的主要工藝參數有加壓壓力、加壓時間和模板溫度。在合適的工藝參數下,厚電芯內部幾乎不存在空氣,隔膜和極片緊密粘合在一起,松散電芯能夠變成硬塊狀態。但是,對于近年來使用的陶瓷隔膜,由于陶瓷層存在,隔膜很難與極片粘合在一起形成這種狀態。在工藝確定試驗中,檢測項目包括隔膜的透氣性、厚度變化;電芯厚度是否滿足入殼要求;極片是否發生斷裂等。
電池隔膜作為電池的核心部件,發揮了隔離正負極電子傳導、同時允許鋰離子在兩極之間的往復通過的關鍵作用,隔膜上的微孔結構正是這些離子往返于正負極的重要通道,它的透氣性能會直接影響到電池的性能,隔膜透氣性是指隔膜在一定的時間壓力下透過的氣體量。如果隔膜的透氣性不好,將影響鋰離子在正負極之間的傳遞,繼而影響鋰電池的充放電。測試工藝過程為:固定電池隔膜,在隔膜一側施加氣壓,計量氣壓壓降和所用時間,檢測隔膜的透氣度,所用時間越短,透氣性越好。在熱壓過程中,隔膜可能被嚴重壓縮,隔膜厚度變化大,導致微孔被堵塞,肉眼觀察隔膜會變成透明色,這種情況說明熱壓整形對電芯作用超限,會影響鋰離子傳輸。卷繞電芯如圖2所示,如果極片比較脆,電芯折彎處在熱壓整形中容易發生掉粉甚至斷裂,這會導致電子傳輸受限,增加電池內阻。因此,電芯熱壓整形也必須避免這種情況發生。這兩個方面要求熱壓整形壓力越小越好,時間越短越好。而另外一方面,熱壓整形又必須使電芯定型,電芯厚度滿足工藝要求,電芯彈性減小,并保證成品電芯厚度的一致性。因此,壓力,時間和溫度等工藝參數需要優化。
下一篇:簡述什么是聚光太陽電池?










